首页
Home
富维通-设备管家
Nav
富保小工单
Nav
设备管理系统
能耗管理系统
工装管理系统
生产数据监控
品质溯源系统
仓储配送管理
工业级数据服务管理
解决方案
Nav
富仁资讯
Nav
案例展示
Nav
关于我们
登录平台
关于富仁
Nav
设备管理系统
能耗管理系统
工装管理系统
生产数据监控
品质溯源系统
仓储配送管理
工业级数据服务管理
关于我们
登录平台
设备管理系统
工富云——数字化工厂轻量级SaaS应用
设备台账
设备点检
维修、保养
盘点
能耗管理
台账管理
过程管理
维保管理
关键能耗监测
异常能耗提醒
能耗降本管理
工业数据集成
数据要素分析
数据价值应用
产品自动赋码
扫码品质管理
产品品质追溯
设备管理系统
工装管理系统
能耗管理系统
生产数据监控
品质溯源系统
设备管理系统
设备资产管理
对设备信息、设备的使用年限、过往运营材料进行管理,形成维保设备台账。
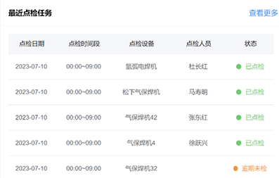
点检现场管理
线上记录点检结果、点检图片等台账材料,形成点检报告随时查看。
维保标准管理
自行定义每日、每周、每月不同的点检项目、点检方法、工具以及数据判别标准。
设备检修管理
检修计划,合理调配检修人员,检修任务情况实时提醒,线上任务审核流转及紧急提醒。
能耗管理
采集设备能耗,并基于生产运行状态监控,对无效能耗进行监控。
生产设备的监控与维保管理是车间数字化的运行基础,
富仁数据科技—
工富云设备资产管理系统能够
实时监测设备的运行状态、分析故障原因、指导设备维护
,通过对设备的监控、故障诊断和点检维保,降低设备维护成本,保障生产设备的稳定、健康运行。
案例——价值化输出
全面推行设备线上点检维保功能后,线上
审批流
程简单快捷,整个点检过程不漏掉异常细节。
日均点检数量提升近
40%
7月7日开始,点击次数明显提升,点检任务列表清晰,点击完成情况一目了然
7月7日开始,点击次数明显提升,点检任务列表清晰,点击完成情况一目了然
将过往被动盘点为主动盘点并发现问题,通过线上资产有效盘点,
实现了实时资产盘点管理
。
许多设备闲置未被发现,
设备归还无记录、档案混乱
,财务及设备科需要大量的时间进行盘点。
429
台设备完成闲置交接
49
台设备台账两日内完成更新
8
台设备完成转车间交接
1
台设备更新为已报废
从生产过程开始盘点,不用等待财务等部门追查资产,
线上实现资产详细台账查询
。
改善后
改善前
知晓设备当前闲置与否,合理盘活资产
核心优势
工富云以国家工业互联网二级节点为技术底座,生成生产设备专属二维码
纸质统计表格转为线上统计查询
张贴对应设备后,可通过手机扫码,获知设备信息
现场巡检照片(水印+定位),上传对应信息平台,避免巡检流程造假
信息包括设备档案、维保记录、说明书
系统自由设定巡检项及标准范围,及时提醒
二维码可以支持拓展功能
可关联设备服务合同及维保计划,责任到人,所有记录可溯源
掌握
设备
现状
实现
互联
互通
保障
安全
合规
提升
运行
效率
持续
释放
价值
快速
便捷
操作
降低
运维
成本
一物一码 万物互联
设备管理标准化作业